-
OVC-Engineered Solutions, LLC
Containerized Solutions
Shower Water Reuse System
Recovers for Reuse 10,000 Gallons/Day of Potable Quality Water from 12,000 Gallons/Day of Shower and Laundry Waste Water
The Outdoor Venture SWRS is a rapidly deployable gray wastewater (used shower and laundry water) reuse system, capable of saving up to 10,000 GPD of potable water demand. The key missions are to serve 150, 300 and 600 man Force Provider and similar military camps with broad use potential.
- Reduces need for potable water production and distribution assets. Reduces fuel demand and transportation exposure.
- PLC and Touch Screen control provides simple operation with minimal training.
- Supports unattended operation with PMCS and operator services at seven day intervals.
- Fully automatic after startup. Stops to Standby upon low wastewater tank level. Resumes treating upon increased level.
- Qualified through full range of environmental and reliability testing at Aberdeen Test Center.
- Fully integrated and contained within Type II Tricon. Provides rapid deployment and setup.
Key Components
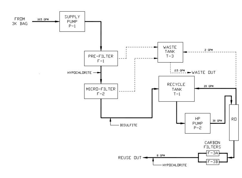
- Diverter automatically diverts wastewater
- Automatically cleaned stainless steel screen filter removes hair and debris
- Automatically backwashed Micro-Filter removes dirt, blood and bacteria
- Automatically chlorine sanitized during system Standby
- Seawater reverse osmosis elements remove salts and organic materials and provide a second barrier to bacteria
- Alarm and shutdown if RO product water quality is out of specification
- Carbon filters remove any taste and odor
Controls and Instrumentation
- Automatic valves
- Startup BIT to verify valve operation and instrumentation
- PLC control and touch screen operator interface
- Leads operator through startup and short term and long term shutdown steps
- Step execution and RO flow control are automatic
- Screens show flow diagrams with pressures, flows and other information
- Alarm screen identifies faults
- Conductivity instrument monitors wastewater and reuse conductivity. PLC comparison verifies RO performance
- Flow and pressure instruments provide feedback to PLC for automatic operation
- Automatic variable speed ventilation fan
- Automatic ceiling mounted heater
Equipment Data
- Fully self contained and ready for deployment within Type II Tricon
- 7,100 lb fully packed out for deployment
- 3,000 gallon wastewater tank provided
- 50 foot power cable provided
- 208-Volt, 3 phase, 50 or 60 Hz power
- 20 kW maximum normal operation
- 29 kW maximum in cold weather operation
- -25 to +110° F operating temperature range with cold weather kit
- -28 to +160° F storage temperature range
- Separate cold weather kit
- Reusable box
- Hose heating blankets
- Circulation blower
- 3,000 gallon tank immersion heater
- Floor insulating mats
- Hanging door strips
Photos
More Information
Other Containerized Solutions
- CBLContainerized Batch Laundry
- CKContainerized Kitchen
- CLSContainerized Latrine System
- CSSContainerized Shower System
- CSSContainerized Shower System (incl Shave Stand)
- D-ELSDismounted ETS - Latrine
- D-ESSDismounted ETS - Shower
- ESSLExpeditionary Tricon System - Self-Serve Laundry
- ETBLExpeditionary Tricon System - Batch Laundry
- ETKExpeditionary Tricon System - Kitchen
- ETLExpeditionary Tricon System - Latrine
- ETSExpeditionary Tricon System - Shower
- Expeditionary Tricon System - Shave Stand
- RRBLRapid Response Batch Laundry
- RRDSRapid Response Decontamination System
- RRKRapid Response Kitchen System
- RRLSRapid Response Latrine System
- RRSSRapid Response Shower System
- RRSSLRapid Response Self-Serve Laundry
- RRWPSRapid Response Water Packaging System
- SWRSShower Water Reuse System
- CSSLContainerized Self Serve Laundry
- RRWRSRapid Response Water Reuse System
- RRMBLRapid Response Multiple Batch Laundry